MD61 Winsen сенсор для измерения Метан CH4 в воздухе
MD61 Winsen сенсор для измерения Метан CH4. Газовый датчик MD61 состоит из активного элемента и опорного элемента с одинаковым сопротивлением, оба элемента включены в схему моста Уитстона. Наряду с изменением содержания анализируемого газа соответствующим образом изменяется общий тепловой коэффициент смешанных газов. Когда активный элемент соприкасается с горючим газом, его сопротивление становится меньше, а когда он соприкасается с восстановительным газом, его сопротивление становится больше (фоновый воздух). Затем выходное напряжение моста изменяется, и изменение напряжения увеличивается в прямо пропорционально концентрации газа. Опорный элемент выполняет функцию основы при температурной компенсации.
Особенности сенсора MD61 Winsen:
- Линейный выходной сигнал
- Хорошая воспроизводимость и надежная работа
- Хорошая стабильность
- Устойчив к отравлению катализатором
- Обнаружение без кислорода или при его недостатке
Основное применение сенсора MD61 Winsen:
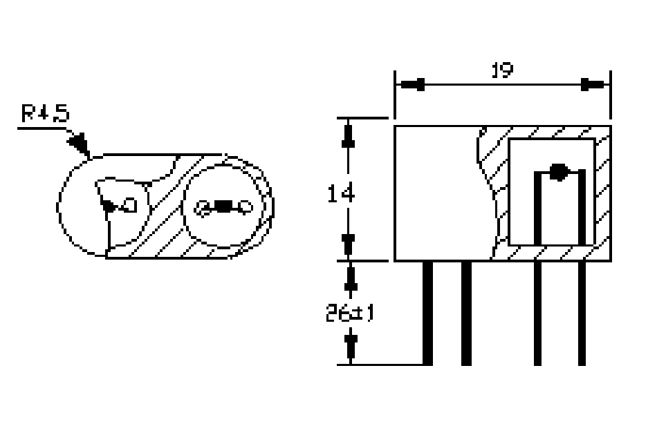
Промышленное устройство для обнаружения СН4, Н2 и других инертных газовГабаритные размеры сенсора MD61 Winsen:



